Взрывозащищенные асинхронные обдуваемые вертикальные электродвигатели ВАОВ5К и ВАОВ5КМ предназначены для привода нефтяных подпорных насосов типа НПВ и НПВ-М, работаю-щих в условиях умеренного и холодного климата, применяемых в местах эксплуатации, в которых по технологии производства возможно образование взрывоопасной концентрации газов, паров и пыли.
Взрывозащищенные асинхронные обдуваемые вертикальные электродвигатели ВАОВ5К и ВАОВ5КМ предназначены для привода нефтяных подпорных насосов типа НПВ и НПВ-М, работаю-щих в условиях умеренного и холодного климата, применяемых в местах эксплуатации, в которых по технологии производства возможно образование взрывоопасной концентрации газов, паров и пыли.
Электродвигатели сертифицированы в России, имеют сертификат соответствия ГОСТР и разре-шения Украины и России на производство и применение.
Исполнение по взрывозащите: 1ExdIIBT4.
Вид климатического исполнения и категория размещения: У1; УХЛ1 (двигатели выполнены из материалов для работы при температуре до минус 600С; крепежные изделия – из нержавеющей стали).
Конструктивное исполнение по способу монтажа: IM 4011 – без лап, с фланцем на станине, с одним цилиндрическим концом вала, направление вала выходным концом вниз.
Соединение двигателей с приводным механизмом осуществляется посредством зубчатых или упругих втулочно-пальцевых муфт. Двигатели поставляются комплектно со шпонками по ГОСТ 23360.
Способ охлаждения: ICA0151 – корпус двигателя выполнен с трубами для прохода наружного воздуха. Наружный и внутренние вентиляторы расположены на валу двигателя.
Степень защиты: двигателя – IP54; кожуха наружного вентилятора – IP20, коробок выводов статора, датчиков, нагревателей масла – IP55.
Режим работы продолжительный S1 от сети переменного тока частотой 50Гц. Напряжение пи-тания двигателя по ГОСТ 183-74 или ГОСТ Р 52776 (для России) – 6000 В или 10000 В по согласова-нию с заказчиком.
Пуск двигателя: прямой, обеспечивается как при номинальном напряжении, так и при падении напряжения сети за время пуска до 0,8 Uном. Среднее число пусков в год - не более 400 и за срок службы – не более 10000; двигатели допускают два пуска подряд из холодного состояния или один пуск из горячего состояния. Интервал между последующими пусками не менее трех часов, допусти-мое количество пусков в сутки до трех.
Конструктивные особенности: Двигатели в климатическом исполнении У1, мощностью до 1000 кВт, изготавливаются с подшипниками качения, верхнего и нижнего подшипниковых узлов, с консистентной смазкой Литол-24, а в климатическом исполнении УХЛ1 с консистентной синтетиче-ской смазкой AeroShell Grease 22. Допускается применение других пластичных смазок с аналогичны-ми свойствами. Двигатели в климатическом исполнении У1, УХЛ1, мощностью свыше 1000 кВт изго-тавливаются с подшипниками качения:
- в нижнем подшипниковом узле с консистентной смазкой Литол-24 для климатического ис-полнения У1, и с консистентной синтетической смазкой AeroShell Grease 22 для климатического ис-полнения УХЛ1.
- в верхнем подшипниковом узле с жидкой смазкой в масляных ваннах без внешней циркуляции масла.
Двигатели в климатическом исполнении УХЛ1 модернизированного исполнения (индекс «М» в обозначении двигателя), изготавливаются с подшипниками качения, верхнего и нижнего подшипнико-вых узлов, с жидкой смазкой в масляных ваннах без внешней циркуляции масла.
Масляные ванны снабжены электронагревателями с дистанционным управлением для подогрева масла при отрицательной температуре.
Коробка выводов имеет три силовых зажима и зажимы заземления (внутренние и наружные), допускает ввод бронированного кабеля с медными и алюминиевыми жилами с обеспечением сухой разделки или заливки кабельной массой.
Обмотка ротора двигателей мощностью до 1000 кВт – алюминиевая, а более 1000 кВт – медная. Изоляция обмотки статора «МОНОЛИТ-2» выполнена по технологии вакуумно-нагнетательной про-питки обмоток эпоксидным компаундом с применением изоляционных материалов класса нагрево-стойкости F. Обмотка статора имеет три выводных провода, выведенных в одну коробку выводов. Схема соединения фаз – «звезда».
Двигатели ВАОВ5К с частотой вращения 1500 об/мин изготавливаются с левым направлением вращения, а двигатели с частотой вращения 1000 об/мин. – с правым направлением вращения, если смотреть со стороны выступающего конца вала. По требованию заказчика двигатели могут быть из-готовлены с другим направлением вращения.
Двигатели ВАОВ5К оснащены датчиками температуры обмотки статора, сердечника статора, подшипников, масла в масляных ваннах и корпуса нагревателя. Выводы датчиков выведены в отдель-ную коробку выводов. На щитах электродвигателя предусмотрены площадки для установки датчиков контроля уровня вибрации в трех плоскостях измерения.
Структура условного обозначения типоисполнения двигателя:
|
ВАОВ5К(М) |
- |
ХХХХ |
|
Х |
- |
Х |
|
ХХХ |
|
1 |
|
|
|
|
|
|
|
|
|
|
|
|
Категория размещения по ГОСТ 15150 |
|
|
|
|
|
|
|
|
|
|
Климатическое исполнение по ГОСТ 15150 |
|||
|
|
|
|
|
|
|
Число полюсов |
|||||
|
|
|
|
|
Д – для напряжения 10000 В |
|||||||
|
|
|
Номинальная мощность двигателя, кВт |
|||||||||
|
Обозначение: В - взрывозащищенный А - асинхронный О - обдуваемый В - вертикальный 5 - серия К - производство г. Новая Каховка М – модернизированный (жидкая смазка подшипниковых узлов) |
|||||||||||
Пример записи обозначения двигателя асинхронного взрывозащищенного с короткозамкну-тым ротором, трехфазного, обдуваемого с маркировкой взрывозащиты 1ExdIIBT4, мощностью 315 кВт, напряжением 6000 В, частота сети 50 Гц, частотой вращения 1500 об/мин, климатическое ис-полнение – УХЛ, категории размещения – 1, левого направления вращения, при его заказе и в доку-ментации другого изделия:
Электродвигатель ВАОВ5К-315-4УХЛ1 1ExdIIBT4, ТУ У 31.1-32832237-014:2008
Тоже самое, климатическое исполнение – У:
Электродвигатель ВАОВ5К-315-4У1 1ExdIIBT4, ТУ У 31.1-32832237-014:2008
Тоже самое, климатическое исполнение – УХЛ1, модернизированный:
Электродвигатель ВАОВ5КМ-315-4УХЛ1 1ExdIIBT4, ТУ У 31.1-32832237-014:2008
Пример записи обозначения двигателя асинхронного взрывозащищенного с короткозамкну-тым ротором, трехфазного, обдуваемого с маркировкой взрывозащиты 1ExdIIBT4, мощностью 400 кВт, напряжением 10000 В, частота сети 50 Гц, частотой вращения 1500 об/мин, климатическое ис-полнение – УХЛ, категории размещения – 1, левого направления вращения, при его заказе и в доку-ментации другого изделия:
Электродвигатель ВАОВ5К-400Д-4УХЛ1 1ExdIIBT4, ТУ У 31.1-32832237-014:2008
Тоже самое, климатическое исполнение – У:
Электродвигатель ВАОВ5К-400Д-4У1 1ExdIIBT4, ТУ У 31.1-32832237-014:2008
Тоже самое, климатическое исполнение – УХЛ1, модернизированный:
Электродвигатель ВАОВ5КМ-400Д-4УХЛ1 1ExdIIBT4, ТУ У 31.1-32832237-014:2008
Пример записи обозначения двигателя асинхронного взрывозащищенного с короткозамкну-тым ротором, трехфазного, обдуваемого с маркировкой взрывозащиты 1ExdIIBT4, мощностью 315 кВт, напряжением 6000 В, частота сети 50 Гц, частотой вращения 1000 об/мин, климатическое ис-полнение – УХЛ, категории размещения – 1, правого направления вращения, при его заказе и в доку-ментации другого изделия:
Электродвигатель ВАОВ5К-315-6УХЛ1 1ExdIIBT4, ТУ У 31.1-32832237-014:2008
Тоже самое, климатическое исполнение – У:
Электродвигатель ВАОВ5К-315-6У1 1ExdIIBT4, ТУ У 31.1-32832237-014:2008
Тоже самое, климатическое исполнение – УХЛ1, модернизированный:
Электродвигатель ВАОВ5КМ-315-6УХЛ1 1ExdIIBT4, ТУ У 31.1-32832237-014:2008
| Тип двигателя | Мощ- ность, кВт | Напряжение, В | Частота вращения (синхр), об/мин | Скольжение, % | Ток статора, А | КПД, % | cosφ | Iпуск/ Iн | Mпуск/ Mн | Mпуск/ Mн |
|---|---|---|---|---|---|---|---|---|---|---|
| ВАОВ5КМ-315-4УХЛ1 | 315 | 6000 | 1500 | 1 | 36 | 94,5 | 0,89 | 6,5 | 1,2 | 2,5 |
| ВАОВ5КМ-400-4УХЛ1 | 400 | 6000 | 1500 | 1 | 45,5 | 95 | 0,89 | 6,5 | 1,2 | 2,5 |
| ВАОВ5КМ-400Д-4УХЛ1 | 400 | 10000 | 1500 | 1 | 28,8 | 94,3 | 0,86 | 6,5 | 1,2 | 2,5 |
| ВАОВ5КМ-800-4УХЛ1 | 800 | 6000 | 1500 | 1 | 89,6 | 95,5 | 0,9 | 6,5 | 1,2 | 2,5 |
| ВАОВ5КМ-800Д-4УХЛ1 | 800 | 10000 | 1500 | 1 | 53,9 | 95,2 | 0,9 | 6 | 1,2 | 2,5 |
| ВАОВ5КМ-1250-4УХЛ1 | 1250 | 6000 | 1500 | 0,6 | 139,5 | 95,8 | 0,9 | 6,5 | 1,1 | 2,5 |
| ВАОВ5КМ-1250Д-4УХЛ1 | 1250 | 10000 | 1500 | 0,6 | 83,9 | 95,6 | 0,9 | 6,5 | 1,1 | 2,5 |
| ВАОВ5КМ-2000-4УХЛ1 | 2000 | 6000 | 1500 | 0,6 | 221,8 | 96,4 | 0,9 | 6,5 | 1,1 | 2,5 |
| ВАОВ5КМ-2000Д-4УХЛ1 | 2000 | 10000 | 1500 | 0,6 | 133,4 | 96,2 | 0,9 | 6,5 | 1,1 | 2,5 |
| ВАОВ5КМ-315-6УХЛ1 | 315 | 6000 | 1000 | 1 | 38 | 94 | 0,85 | 6 | 1,1 | 2,2 |
| ВАОВ5КМ-400-6УХЛ1 | 400 | 6000 | 1000 | 1 | 48 | 94,3 | 0,85 | 6 | 1,1 | 2,2 |
| ВАОВ5КМ-630-6УХЛ1 | 630 | 6000 | 1000 | 0,8 | 73,3 | 95,1 | 0,87 | 6 | 1,1 | 2,2 |
| ВАОВ5КМ-630Д-6УХЛ1 | 630 | 10000 | 1000 | 0,8 | 44,1 | 94,8 | 0,87 | 6 | 1,1 | 2,2 |
| ВАОВ5КМ-800-6УХЛ1 | 800 | 6000 | 1000 | 0,8 | 92,2 | 95,3 | 0,87 | 6 | 1,1 | 2,2 |
| ВАОВ5КМ-800Д-6УХЛ1 | 800 | 10000 | 1000 | 0,8 | 55,9 | 95 | 0,87 | 6 | 1,1 | 2,2 |
| ВАОВ5КМ-1000-6УХЛ1 | 1000 | 6000 | 1000 | 0,6 | 121 | 95,8 | 0,83 | 5 | 1 | 2,1 |
| ВАОВ5КМ-1000Д-6УХЛ1 | 1000 | 10000 | 1000 | 0,6 | 72,8 | 95,5 | 0,83 | 5 | 1 | 2,1 |
| ВАОВ5КМ-1250-6УХЛ1 | 1250 | 6000 | 1000 | 0,6 | 151 | 96 | 0,83 | 5 | 1 | 2,1 |
| ВАОВ5КМ-1250Д-6УХЛ1 | 1250 | 10000 | 1000 | 0,6 | 90,8 | 95,8 | 0,83 | 5 | 1 | 2,1 |
| ВАОВ5КМ-1600-6УХЛ1 | 1600 | 6000 | 1000 | 0,6 | 192,4 | 96,4 | 0,83 | 5 | 1 | 2,1 |
| ВАОВ5КМ-1600Д-6УХЛ1 | 1600 | 10000 | 1000 | 0,6 | 115,7 | 96,2 | 0,83 | 5 | 1 | 2,1 |
| ВАОВ5КМ-2000-6УХЛ1 | 2000 | 6000 | 1000 | 0,6 | 237,7 | 96,4 | 0,84 | 5 | 1 | 2,1 |
| ВАОВ5КМ-2000Д-6УХЛ1 | 2000 | 10000 | 1000 | 0,6 | 142,9 | 96,2 | 0,84 | 5 | 1 | 2,1 |
| ВАОВ5КМ-2250-6УХЛ1 | 2250 | 6000 | 1000 | 0,6 | 267,1 | 96,5 | 0,84 | 5 | 1 | 2,1 |
| ВАОВ5КМ-2250Д-6УХЛ1 | 2250 | 10000 | 1000 | 0,6 | 160,6 | 96,3 | 0,84 | 5 | 1 | 2,1 |
| ВАОВ5К-315-4У1,УХЛ1 | 315 | 6000 | 1500 | 1 | 36 | 94,5 | 0,89 | 6,5 | 1,2 | 2,5 |
| ВАОВ5К-400-4У1,УХЛ1 | 400 | 6000 | 1500 | 1 | 45,5 | 95 | 0,89 | 6,5 | 1,2 | 2,5 |
| ВАОВ5К-400Д-4У1,УХЛ1 | 400 | 10000 | 1500 | 1 | 28,8 | 94,3 | 0,86 | 6,5 | 1,2 | 2,5 |
| ВАОВ5К-800-4У1,УХЛ1 | 800 | 6000 | 1500 | 1 | 89,6 | 95,5 | 0,9 | 6,5 | 1,2 | 2,5 |
| ВАОВ5К-800Д-4У1,УХЛ1 | 800 | 10000 | 1500 | 1 | 53,9 | 95,2 | 0,9 | 6 | 1,2 | 2,5 |
| ВАОВ5К-1250-4У1,УХЛ1 | 1250 | 6000 | 1500 | 0,6 | 139,5 | 95,8 | 0,9 | 6,5 | 1,1 | 2,5 |
| ВАОВ5К-1250Д-4У1,УХЛ1 | 1250 | 10000 | 1500 | 0,6 | 83,9 | 95,6 | 0,9 | 6,5 | 1,1 | 2,5 |
| ВАОВ5К-2000-4У1,УХЛ1 | 2000 | 6000 | 1500 | 0,6 | 221,8 | 96,4 | 0,9 | 6,5 | 1,1 | 2,5 |
| ВАОВ5К-2000Д-4У1,УХЛ1 | 2000 | 10000 | 1500 | 0,6 | 133,4 | 96,2 | 0,9 | 6,5 | 1,1 | 2,5 |
| ВАОВ5К-315-6У1,УХЛ1 | 315 | 6000 | 1000 | 1 | 38 | 94 | 0,85 | 6 | 1,1 | 2,2 |
| ВАОВ5К-400-6У1,УХЛ1 | 400 | 6000 | 1000 | 1 | 48 | 94,3 | 0,85 | 6 | 1,1 | 2,2 |
| ВАОВ5К-630-6У1,УХЛ1 | 630 | 6000 | 1000 | 0,8 | 73,3 | 95,1 | 0,87 | 6 | 1,1 | 2,2 |
| ВАОВ5К-630Д-6У1,УХЛ1 | 630 | 10000 | 1000 | 0,8 | 44,1 | 94,8 | 0,87 | 6 | 1,1 | 2,2 |
| ВАОВ5К-800-6У1,УХЛ1 | 800 | 6000 | 1000 | 0,8 | 92,2 | 95,3 | 0,87 | 6 | 1,1 | 2,2 |
| ВАОВ5К-800Д-6У1,УХЛ1 | 800 | 10000 | 1000 | 0,8 | 55,9 | 95 | 0,87 | 6 | 1,1 | 2,2 |
| ВАОВ5К-1000-6У1,УХЛ1 | 1000 | 6000 | 1000 | 0,6 | 121 | 95,8 | 0,83 | 5 | 1 | 2,1 |
| ВАОВ5К-1000Д-6У1,УХЛ1 | 1000 | 10000 | 1000 | 0,6 | 72,8 | 95,5 | 0,83 | 5 | 1 | 2,1 |
| ВАОВ5К-1250-6У1,УХЛ1 | 1250 | 6000 | 1000 | 0,6 | 151 | 96 | 0,83 | 5 | 1 | 2,1 |
| ВАОВ5К-1250Д-6У1,УХЛ1 | 1250 | 10000 | 1000 | 0,6 | 90,8 | 95,8 | 0,83 | 5 | 1 | 2,1 |
| ВАОВ5К-1600-6У1,УХЛ1 | 1600 | 6000 | 1000 | 0,6 | 192,4 | 96,4 | 0,83 | 5 | 1 | 2,1 |
| ВАОВ5К-1600Д-6У1,УХЛ1 | 1600 | 10000 | 1000 | 0,6 | 115,7 | 96,2 | 0,83 | 5 | 1 | 2,1 |
| ВАОВ5К-2000-6У1,УХЛ1 | 2000 | 6000 | 1000 | 0,6 | 237,7 | 96,4 | 0,84 | 5 | 1 | 2,1 |
| ВАОВ5К-2000Д-6У1,УХЛ1 | 2000 | 10000 | 1000 | 0,6 | 142,9 | 96,2 | 0,84 | 5 | 1 | 2,1 |
| ВАОВ5К-2250-6У1,УХЛ1 | 2250 | 6000 | 1000 | 0,6 | 267,1 | 96,5 | 0,84 | 5 | 1 | 2,1 |
| ВАОВ5К-2250Д-6У1,УХЛ1 | 2250 | 10000 | 1000 | 0,6 | 160,6 | 96,3 | 0,84 | 5 | 1 | 2,1 |
| Мощность, кВт | |
| Синхронная частота вращения, об/мин | |
| Напряжение, В |
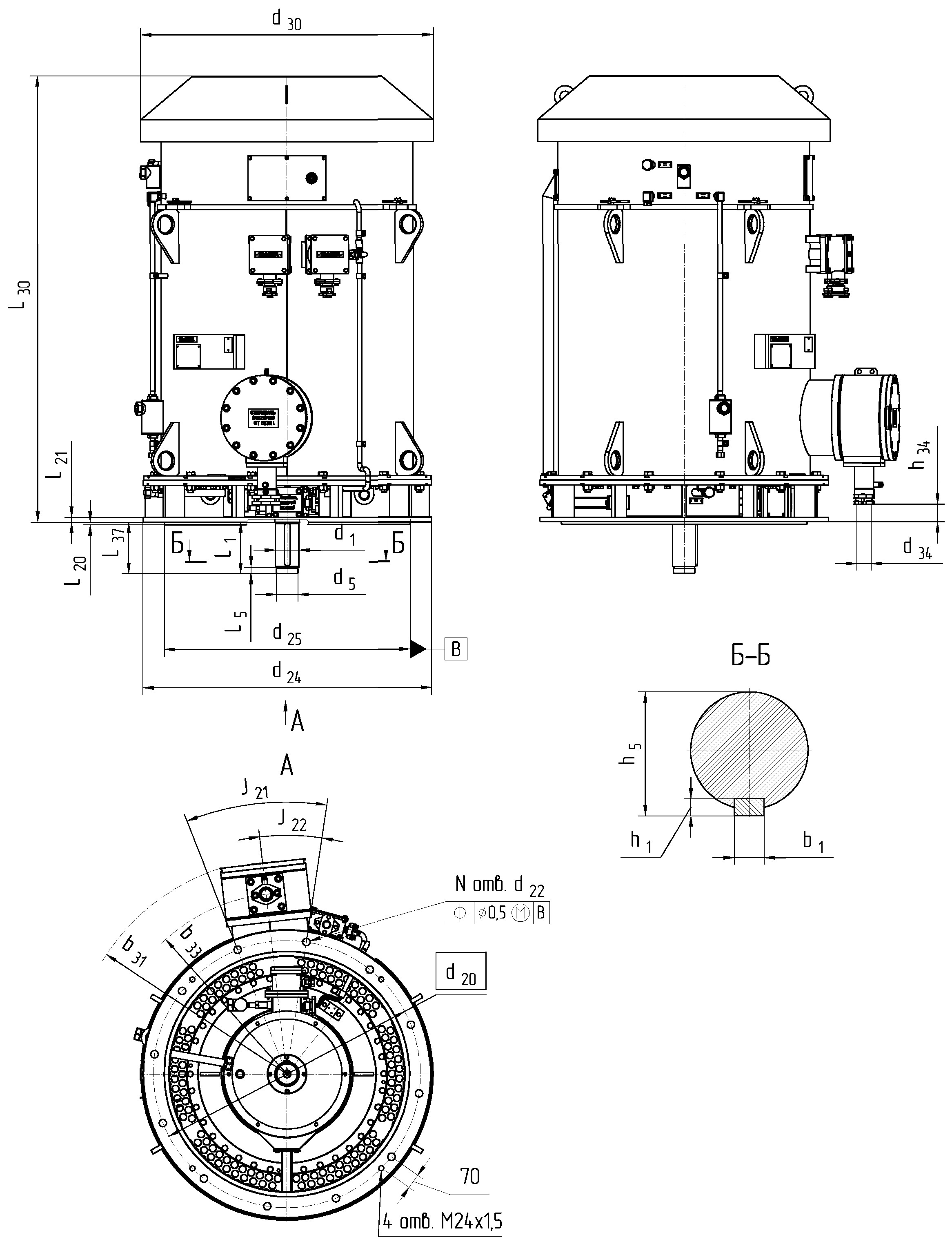
| Тип двигателя | Рис. | b31, мм | d24, мм | d30, мм | b1, мм | b33, мм | d1, мм | d5, мм | d20, мм | d22, мм | d25, мм | d34, мм | h1, мм | h5, мм | h34, мм | L1, мм | L5, мм | L20, мм | L21, мм | L37, мм | J21, мм | J22, мм | N | Масса, кг | L30, мм |
|---|---|---|---|---|---|---|---|---|---|---|---|---|---|---|---|---|---|---|---|---|---|---|---|---|---|
| ВАОВ5КМ-315-4УХЛ1 | 1 | 965 | 1150 | 1260 | 28 | 800 | 100 m6 | - | 1080 | 28 | 1000 ±0,028 | 45 | 16 | 106 | 35 | 210 | - | 10 | 20 | 210 | 45° | 22°30’ | 8 | 2900 | 2040 |
| ВАОВ5КМ-400-4УХЛ1 | 1 | 995 | 1350 | 1370 | 28 | 830 | 110 m6 | - | 1250 | 35 | 1150 ±0,033 | 45 | 16 | 116 | 35 | 210 | - | 10 | 20 | 210 | 30° | 15° | 12 | 3600 | 2050 |
| ВАОВ5КМ-400Д-4УХЛ1 | 1 | 1070 | 1350 | 1370 | 28 | 900 | 110 m6 | - | 1250 | 35 | 1150 ±0,033 | 45 | 16 | 116 | 35 | 210 | - | 10 | 20 | 210 | 30° | 15° | 12 | 4260 | 2240 |
| ВАОВ5КМ-800-4УХЛ1 | 1 | 1075 | 1500 | 1450 | 32 | 910 | 120 m6 | - | 1400 | 35 | 1290 ±0,039 | 45 | 18 | 127 | 35 | 210 | - | 10 | 30 | 210 | 30° | 15° | 12 | 6110 | 2240 |
| ВАОВ5КМ-800Д-4УХЛ1 | 1 | 1150 | 1500 | 1450 | 32 | 980 | 120 m6 | - | 1400 | 35 | 1290 ±0,039 | 45 | 18 | 127 | 35 | 210 | - | 10 | 30 | 210 | 30° | 15° | 12 | 6380 | 2340 |
| ВАОВ5КМ-1250-4УХЛ1 | 1 | 1225 | 1720 | 1780 | 36 | 1065 | 140 m6 | - | 1600 | 42 | 1480 ±0,039 | 65 | 20 | 148 | 20 | 250 | - | 15 | 35 | 250 | 30° | 15° | 12 | 9630 | 2570 |
| ВАОВ5КМ-1250Д-4УХЛ1 | 1 | 1420 | 1720 | 1780 | 36 | 1255 | 140 m6 | - | 1600 | 42 | 1480 ±0,039 | 60 | 20 | 148 | 20 | 250 | - | 15 | 35 | 250 | 30° | 15° | 12 | 10120 | 2780 |
| ВАОВ5КМ-2000-4УХЛ1 | 1 | 1225 | 1920 | 1860 | 36 | 1065 | 140 m6 | - | 1800 | 42 | 1680 ±0,046 | 65 | 20 | 148 | 20 | 250 | - | 15 | 35 | 250 | 22°30’ | 11°15’ | 16 | 11790 | 2770 |
| ВАОВ5КМ-2000Д-4УХЛ1 | 1 | 1420 | 1920 | 1860 | 36 | 1255 | 140 m6 | - | 1800 | 42 | 1680 ±0,046 | 60 | 20 | 148 | 20 | 250 | - | 15 | 35 | 250 | 22°30’ | 11°15’ | 16 | 12420 | 2910 |
| ВАОВ5КМ-315-6УХЛ1 | 1 | 1015 | 1350 | 1370 | 28 | 850 | 110 m6 | М100х2 | 1250 | 35 | 1150 ±0,033 | 45 | 16 | 116 | 80 | 240 | 30 | 10 | 20 | 240 | 30° | 15° | 12 | 4000 | 2110 |
| ВАОВ5КМ-400-6УХЛ1 | 1 | 1015 | 1350 | 1370 | 28 | 850 | 110 m6 | М100х2 | 1250 | 35 | 1150 ±0,033 | 45 | 16 | 116 | 80 | 240 | 30 | 10 | 20 | 240 | 30° | 15° | 12 | 4260 | 2170 |
| ВАОВ5КМ-630-6УХЛ1 | 1 | 1140 | 1500 | 1605 | 32 | 980 | 120 m6 | M110x2 | 1400 | 35 | 1290 ±0,039 | 45 | 18 | 127 | 100 | 240 | 30 | 10 | 30 | 240 | 30° | 15° | 12 | 5850 | 2220 |
| ВАОВ5КМ-630Д-6УХЛ1 | 1 | 1220 | 1500 | 1605 | 32 | 1050 | 120 m6 | M110x2 | 1400 | 35 | 1290 ±0,039 | 45 | 18 | 127 | 100 | 240 | 30 | 10 | 30 | 240 | 30° | 15° | 12 | 6500 | 2390 |
| ВАОВ5КМ-800-6УХЛ1 | 1 | 1140 | 1500 | 1605 | 32 | 980 | 120 m6 | M110x2 | 1400 | 35 | 1290 ±0,039 | 45 | 18 | 127 | 100 | 240 | 30 | 10 | 30 | 240 | 30° | 15° | 12 | 7200 | 2340 |
| ВАОВ5КМ-800Д-6УХЛ1 | 1 | 1220 | 1500 | 1605 | 32 | 1050 | 120 m6 | M110x2 | 1400 | 35 | 1290 ±0,039 | 45 | 18 | 127 | 100 | 240 | 30 | 10 | 30 | 240 | 30° | 15° | 12 | 8000 | 2510 |
| ВАОВ5КМ-1000-6УХЛ1 | 1 | 1225 | 1920 | 1825 | 36 | 1065 | 140 m6 | M130x2 | 1800 | 42 | 1680 ±0,046 | 65 | 20 | 148 | 120 | 280 | 30 | 15 | 35 | 280 | 22°30’ | 11°15’ | 16 | 9600 | 2400 |
| ВАОВ5КМ-1000Д-6УХЛ1 | 1 | 1420 | 1920 | 1825 | 36 | 1255 | 140 m6 | M130x2 | 1800 | 42 | 1680 ±0,046 | 60 | 20 | 148 | 120 | 280 | 30 | 15 | 35 | 280 | 22°30’ | 11°15’ | 16 | 10200 | 2630 |
| ВАОВ5КМ-1250-6УХЛ1 | 1 | 1225 | 1920 | 1825 | 36 | 1065 | 140 m6 | M130x2 | 1800 | 42 | 1680 ±0,046 | 65 | 20 | 148 | 120 | 280 | 30 | 15 | 35 | 280 | 22°30’ | 11°15’ | 16 | 10450 | 2500 |
| ВАОВ5КМ-1250Д-6УХЛ1 | 1 | 1420 | 1920 | 1825 | 36 | 1255 | 140 m6 | M130x2 | 1800 | 42 | 1680 ±0,046 | 60 | 20 | 148 | 120 | 280 | 30 | 15 | 35 | 280 | 22°30’ | 11°15’ | 16 | 11150 | 2730 |
| ВАОВ5КМ-1600-6УХЛ1 | 2 | 1325 | 2100 | 1940 | 40 | 1165 | 150 m6 | M130x2 | 2000 | 42 | 1830 ±0,046 | 65 | 22 | 168 | 150 | 280 | 30 | 15 | 35 | 280 | 22°30’ | 11°15’ | 16 | 12420 | 2640 |
| ВАОВ5КМ-1600Д-6УХЛ1 | 2 | 1455 | 2100 | 1940 | 40 | 1290 | 150 m6 | M130x2 | 2000 | 42 | 1830 ±0,046 | 60 | 22 | 168 | 150 | 280 | 30 | 15 | 35 | 280 | 22°30’ | 11°15’ | 16 | 12950 | 2870 |
| ВАОВ5КМ-2000-6УХЛ1 | 2 | 1325 | 2100 | 1940 | 40 | 1165 | 150 m6 | M130x2 | 2000 | 42 | 1830 ±0,046 | 65 | 22 | 168 | 150 | 280 | 30 | 15 | 35 | 280 | 22°30’ | 11°15’ | 16 | 14220 | 2810 |
| ВАОВ5КМ-2000Д-6УХЛ1 | 2 | 1455 | 2100 | 1940 | 40 | 1290 | 150 m6 | M130x2 | 2000 | 42 | 1830 ±0,046 | 60 | 22 | 168 | 150 | 280 | 30 | 15 | 35 | 280 | 22°30’ | 11°15’ | 16 | 14650 | 3030 |
| ВАОВ5КМ-2250-6УХЛ1 | 2 | 1325 | 2100 | 1940 | 40 | 1165 | 150 m6 | M130x2 | 2000 | 42 | 1830 ±0,046 | 65 | 22 | 168 | 150 | 280 | 30 | 15 | 35 | 280 | 22°30’ | 11°15’ | 16 | 15000 | 2950 |
| ВАОВ5КМ-2250Д-6УХЛ1 | 2 | 1455 | 2100 | 1940 | 40 | 1290 | 150 m6 | M130x2 | 2000 | 42 | 1830 ±0,046 | 60 | 22 | 168 | 150 | 280 | 30 | 15 | 35 | 280 | 22°30’ | 11°15’ | 16 | 15700 | 3170 |
| ВАОВ5К-315-4У1,УХЛ1 | 1 | 965 | 1150 | 1260 | 28 | 800 | 100 m6 | - | 1080 | 28 | 1000 ±0,028 | 45 | 16 | 106 | 35 | 210 | - | 10 | 20 | 210 | 45° | 22°30’ | 8 | 2900 | 1830 |
| ВАОВ5К-400-4У1,УХЛ1 | 1 | 995 | 1350 | 1370 | 28 | 830 | 110 m6 | - | 1250 | 35 | 1150 ±0,033 | 45 | 16 | 116 | 35 | 210 | - | 10 | 20 | 210 | 30° | 15° | 12 | 3600 | 1840 |
| ВАОВ5К-400Д-4У1,УХЛ1 | 1 | 1070 | 1350 | 1370 | 28 | 900 | 110 m6 | - | 1250 | 35 | 1150 ±0,033 | 45 | 16 | 116 | 35 | 210 | - | 10 | 20 | 210 | 30° | 15° | 12 | 4260 | 2030 |
| ВАОВ5К-800-4У1,УХЛ1 | 1 | 1075 | 1500 | 1450 | 32 | 910 | 120 m6 | - | 1400 | 35 | 1290 ±0,039 | 45 | 18 | 127 | 35 | 210 | - | 10 | 30 | 210 | 30° | 15° | 12 | 6110 | 2000 |
| ВАОВ5К-800Д-4У1,УХЛ1 | 1 | 1150 | 1500 | 1450 | 32 | 980 | 120 m6 | - | 1400 | 35 | 1290 ±0,039 | 45 | 18 | 127 | 35 | 210 | - | 10 | 30 | 210 | 30° | 15° | 12 | 6380 | 2100 |
| ВАОВ5К-1250-4У1,УХЛ1 | 1 | 1225 | 1720 | 1780 | 36 | 1065 | 140 m6 | - | 1600 | 42 | 1480 ±0,039 | 65 | 20 | 148 | 20 | 250 | - | 15 | 35 | 250 | 30° | 15° | 12 | 9630 | 2520 |
| ВАОВ5К-1250Д-4У1,УХЛ1 | 1 | 1420 | 1720 | 1780 | 36 | 1255 | 140 m6 | - | 1600 | 42 | 1480 ±0,039 | 60 | 20 | 148 | 20 | 250 | - | 15 | 35 | 250 | 30° | 15° | 12 | 10120 | 2730 |
| ВАОВ5К-2000-4У1,УХЛ1 | 1 | 1225 | 1920 | 1860 | 36 | 1065 | 140 m6 | - | 1800 | 42 | 1680 ±0,046 | 65 | 20 | 148 | 20 | 250 | - | 15 | 35 | 250 | 22°30’ | 11°15’ | 16 | 11790 | 2720 |
| ВАОВ5К-2000Д-4У1,УХЛ1 | 1 | 1420 | 1920 | 1860 | 36 | 1255 | 140 m6 | - | 1800 | 42 | 1680 ±0,046 | 60 | 20 | 148 | 20 | 250 | - | 15 | 35 | 250 | 22°30’ | 11°15’ | 16 | 12420 | 2860 |
| ВАОВ5К-315-6У1,УХЛ1 | 1 | 1015 | 1350 | 1370 | 28 | 850 | 110 m6 | М100х2 | 1250 | 35 | 1150 ±0,033 | 45 | 16 | 116 | 80 | 240 | 30 | 10 | 20 | 240 | 30° | 15° | 12 | 4000 | 1840 |
| ВАОВ5К-400-6У1,УХЛ1 | 1 | 1015 | 1350 | 1370 | 28 | 850 | 110 m6 | М100х2 | 1250 | 35 | 1150 ±0,033 | 45 | 16 | 116 | 80 | 240 | 30 | 10 | 20 | 240 | 30° | 15° | 12 | 4260 | 1900 |
| ВАОВ5К-630-6У1,УХЛ1 | 1 | 1140 | 1500 | 1605 | 32 | 980 | 120 m6 | M110x2 | 1400 | 35 | 1290 ±0,039 | 45 | 18 | 127 | 100 | 240 | 30 | 10 | 30 | 240 | 30° | 15° | 12 | 5850 | 2030 |
| ВАОВ5К-630Д-6У1,УХЛ1 | 1 | 1220 | 1500 | 1605 | 32 | 1050 | 120 m6 | M110x2 | 1400 | 35 | 1290 ±0,039 | 45 | 18 | 127 | 100 | 240 | 30 | 10 | 30 | 240 | 30° | 15° | 12 | 6500 | 2200 |
| ВАОВ5К-800-6У1,УХЛ1 | 1 | 1140 | 1500 | 1605 | 32 | 980 | 120 m6 | M110x2 | 1400 | 35 | 1290 ±0,039 | 45 | 18 | 127 | 100 | 240 | 30 | 10 | 30 | 240 | 30° | 15° | 12 | 7200 | 2150 |
| ВАОВ5К-800Д-6У1,УХЛ1 | 1 | 1220 | 1500 | 1605 | 32 | 1050 | 120 m6 | M110x2 | 1400 | 35 | 1290 ±0,039 | 45 | 18 | 127 | 100 | 240 | 30 | 10 | 30 | 240 | 30° | 15° | 12 | 8000 | 2320 |
| ВАОВ5К-1000-6У1,УХЛ1 | 1 | 1225 | 1920 | 1825 | 36 | 1065 | 140 m6 | M130x2 | 1800 | 42 | 1680 ±0,046 | 65 | 20 | 148 | 120 | 280 | 30 | 15 | 35 | 280 | 22°30’ | 11°15’ | 16 | 9600 | 2400 |
| ВАОВ5К-1000Д-6У1,УХЛ1 | 1 | 1420 | 1920 | 1825 | 36 | 1255 | 140 m6 | M130x2 | 1800 | 42 | 1680 ±0,046 | 60 | 20 | 148 | 120 | 280 | 30 | 15 | 35 | 280 | 22°30’ | 11°15’ | 16 | 10200 | 2630 |
| ВАОВ5К-1250-6У1,УХЛ1 | 1 | 1225 | 1920 | 1825 | 36 | 1065 | 140 m6 | M130x2 | 1800 | 42 | 1680 ±0,046 | 65 | 20 | 148 | 120 | 280 | 30 | 15 | 35 | 280 | 22°30’ | 11°15’ | 16 | 10450 | 2500 |
| ВАОВ5К-1250Д-6У1,УХЛ1 | 1 | 1420 | 1920 | 1825 | 36 | 1255 | 140 m6 | M130x2 | 1800 | 42 | 1680 ±0,046 | 60 | 20 | 148 | 120 | 280 | 30 | 15 | 35 | 280 | 22°30’ | 11°15’ | 16 | 11150 | 2730 |
| ВАОВ5К-1600-6У1,УХЛ1 | 2 | 1325 | 2100 | 1940 | 40 | 1165 | 150 m6 | M130x2 | 2000 | 42 | 1830 ±0,046 | 65 | 22 | 168 | 150 | 280 | 30 | 15 | 35 | 280 | 22°30’ | 11°15’ | 16 | 12420 | 2640 |
| ВАОВ5К-1600Д-6У1,УХЛ1 | 2 | 1455 | 2100 | 1940 | 40 | 1290 | 150 m6 | M130x2 | 2000 | 42 | 1830 ±0,046 | 60 | 22 | 168 | 150 | 280 | 30 | 15 | 35 | 280 | 22°30’ | 11°15’ | 16 | 12950 | 2870 |
| ВАОВ5К-2000-6У1,УХЛ1 | 2 | 1325 | 2100 | 1940 | 40 | 1165 | 150 m6 | M130x2 | 2000 | 42 | 1830 ±0,046 | 65 | 22 | 168 | 150 | 280 | 30 | 15 | 35 | 280 | 22°30’ | 11°15’ | 16 | 14220 | 2810 |
| ВАОВ5К-2000Д-6У1,УХЛ1 | 2 | 1455 | 2100 | 1940 | 40 | 1290 | 150 m6 | M130x2 | 2000 | 42 | 1830 ±0,046 | 60 | 22 | 168 | 150 | 280 | 30 | 15 | 35 | 280 | 22°30’ | 11°15’ | 16 | 14650 | 3030 |
| ВАОВ5К-2250-6У1,УХЛ1 | 2 | 1325 | 2100 | 1940 | 40 | 1165 | 150 m6 | M130x2 | 2000 | 42 | 1830 ±0,046 | 65 | 22 | 168 | 150 | 280 | 30 | 15 | 35 | 280 | 22°30’ | 11°15’ | 16 | 15000 | 2950 |
| ВАОВ5К-2250Д-6У1,УХЛ1 | 2 | 1455 | 2100 | 1940 | 40 | 1290 | 150 m6 | M130x2 | 2000 | 42 | 1830 ±0,046 | 60 | 22 | 168 | 150 | 280 | 30 | 15 | 35 | 280 | 22°30’ | 11°15’ | 16 | 15700 | 3170 |